Patent na aktywne zawieszenie nowej generacji Tesli został opublikowany przez Światową Organizację Własności Intelektualnej (odpowiednik Urzędu Patentowego w skali globalnej) i ujawniony przez CarBuzz.
Z dokumentów patentowych wynika, że rozwiązanie stanowi połączenie konwencjonalnego, mechanicznego zawieszenia (wewnątrz kolumny resorującej jest klasyczna sprężyna śrubowa) oraz systemu pneumatycznego amortyzatora i jest dodatkowo wyposażone w siłownik, umożliwiający bardzo szybkie ustawienie koła w dowolnym położeniu zadanym przez system sterowania.
Zawieszenie samochodów ewoluowało od początku motoryzacji wraz ze wzrostem mocy silników i osiąganiem coraz wyższych prędkości. Producenci samochodów pracowali też nad lepszą stabilnością pojazdów i wyższym komfortem pasażerów.
Pierwsze pojazd uznawany za samochód, czyli Cugnot z 1770 roku w ogóle nie posiadał zawieszenia a jedynie zwykłe, nieresorowane osie. Kolejne samochody posiadały sztywne mosty oparte na resorach piórowych podobnie jak w powozach konnych, a w kolejnym stuleciu do produkcji weszły pojazdy z niezależnym, mechanicznym zawieszeniem każdego koła, następnie systemy hydro-pneumatyczne i pneumatyczne.
Adaptacyjne systemy kontroli położenia kół były już stosowane, ale w pojazdach wyczynowych m.in w bolidach F1, jednak dawały tak dużą przewagę, że zostały zakazane (bolid Williams FW15C zdobył najszybsze okrążenie w 15 z 16 wyścigów w sezonie 1993).
Obecnie, w zależności od klasy i wersji wyposażenia samochodu, najczęściej spotykanym rozwiązaniem jest tradycyjne, niezależne zawieszenie kół, oparte o sprężyny śrubowe i amortyzatory gazowe, gazowo-hydrauliczne lub hydrauliczne (często z regulowaną siłą tłumienia amortyzatorów) lub w wyższych modelach, adaptacyjne zawieszenia oparte na kolumnach pneumatycznych z regulacją prześwitu i twardości.
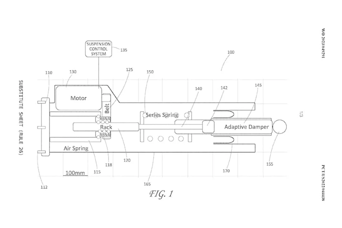
Najnowszy patent Tesli jest rozwinięciem aktualnie stosowanych, aktywnych systemów pneumatycznych i w założeniu, eliminuje niedoskonałości tych rozwiązań tzn. szybkość reakcji systemu opartego o ściśliwe medium, jakim jest powietrze. Dynamiczna zmiana długości kolumny zawieszenia w zależności od sytuacji i potrzeb, realizowana za pomocą siłownika elektrycznego jest nieporównywalnie szybsza i bardziej precyzyjna, niż wykonywana za pomocą kompresora i powietrza w aktualnie stosowanych, pneumatycznych kolumnach resorujących. Rozwiązanie Tesli polega na tym, że silnik siłownika znajduje się w zespole mocowania górnej części amortyzatora i wykorzystuje zespół napędu pasowego do obracania gwintowanego wału kolumny amortyzatora. Efektywnie zmienia to długość wałka kolumny poprzez przesuwanie górnego punktu mocowania kolumny w górę lub w dół, co umożliwia aktywną kontrolę nad pozycją każdego koła.



Zgodnie z aktualnym trendem projektowania i konstruowania samochodów, elektroniczny system kontroli i sterowania jest kluczowym elementem funkcjonowania całego pojazdu, w tym – zawieszenia. W patencie Tesli, oprogramowanie steruje położeniem każdego koła na podstawie sygnałów z czujników drgań, przyspieszenia, hamowania, pochylenia i przechyłu oraz prawdopodobnie z danych o charakterystyce drogi (autostrada, zwykła droga, zakręt, skrzyżowanie) i systemu kamer skanujących nawierzchnię przed pojazdem w podobny sposób do proaktywnego systemu kontroli nadwozia E-Active dostępnego w mercedesie klasy S.
Oprócz zarządzania prześwitem i poziomowania zawieszenia, nowy system kontroli zawieszenia będzie prawdopodobnie mógł z wyprzedzeniem wykrywać niedoskonałości nawierzchni czy koleiny i w odpowiedzi, proaktywnie unosić odpowiednie koło, zmniejszając w ten sposób intensywność kontaktu między kołem a nierównością. Dynamicznie regulowane długości wałków amortyzatorów umożliwią również pojazdowi przeciwdziałanie przechyłom nadwozia bez zakłócania pracy sprężyn i amortyzatorów oraz eliminację pochylenia podczas przyspieszania i hamowania.
Wspomniany system zawieszenia Mercedes E-Active, jest uważany za najbardziej finezyjny i zaawansowany układ zawieszenia w aktualnie oferowanych samochodach osobowych, jednak nie posiada funkcji aktywnego sterowania dynamicznym położeniem wysokości poszczególnych kół a jedynie bardzo rozbudowanym, aktywnym systemem tłumienia i prześwitu. Tesla model S i model X debiutowały w 2012 roku i weszły do sprzedaży w 2015 roku i ich zawieszenia również są oparte o konwencjonalne kolumny pneumatyczne z regulowanym prześwitem i siłą tłumienia. Daje to możliwość regulacji wysokości pojazdu i sztywności zawieszenia, jednak nie ma możliwości aktywnego sterowania dynamicznym położeniem wysokości każdego koła. Można się więc spodziewać, że nowe odsłony flagowych modeli amerykańskiej marki zostaną wyposażone w opisany wyżej, opatentowany system zawieszenia.
W opinii ekspertów
Komentarz: mgr inż. Mateusz Bednarski Zakład Silników Spalinowych, Instytut Pojazdów i Maszyn Roboczych, Wydział Samochodów i Maszyn Roboczych Politechniki Warszawskiej.
„Regulacja położenia koła realizowana w modelu zawieszenia opracowanego przez Teslę będzie rozwinięciem koncepcyjnego zawieszenia opracowanego przez markę BOSE dla lexusa LS na początku lat 90. Zmiana położenia koła – fizycznie prześwitu między oponą a nadkolem, może znacząco przyczynić się do zwiększenia stabilności pojazdu w trakcie pokonywania zakrętów – mechaniczne rozwiązanie tego typu to oczywiście stabilizator, bądź bardziej wysublimowane zawieszenia znane w latach 90 w kompaktowej Xantii Activa koncernu Citroena. Skomplikowanie układu Tesli bez oceny układu po testach drogowych jest jednak powodem wątpliwości. Dziś stosowane aktywne układy zawieszeń doskonale radzą sobie z pokonywaniem zakrętów czy komfortem. Układ Tesli może być rozwiązaniem do ciężkich pojazdów elektrycznych, gdzie masa pojazdu może być wyzwaniem dla szybkości działania układów pneumatycznych.”
Komentarz: Dr inż. Piotr Wiśniowski, Instytut Transportu Samochodowego.
„Zawieszenie pneumatyczne od lat stanowi rozwiązanie stosowane w pojazdach luksusowych, jak też transporcie ciężkim. Wśród wielu zalet m.in. podnoszących komfort podróżowania oraz wybieranie nierówności, ma też wady eksploatacyjne, do których zaliczyć można awarie kompresora czy samych poduszek. Analizując rozwiązanie amerykańskiego koncernu, można zauważyć, że jest to kolejna ewolucja stosowanego przez tę markę rozwiązania. W efekcie możliwe będzie optymalne położenie kół pojazdu przy jednoczesnym zachowaniu mniejszych oporów toczenia, odpowiedniej sztywności zawieszenia i dużego poziomu tłumienia. Pytanie o sztywność nadwozia. Czy nie będzie konieczności wzmocnienia konstrukcji np. poprzez rozpórki zakładane między kielichami zawieszenia?”
Autor: Redakcja






